手机站手机站 在线留言 收藏本站 网站地图 会员登录 会员注册

欢迎来到深圳康比电子有限公司官方网站

24小时加盟热线0755-27876201
当前位置首页 » 常见问题 » 时钟晶体振荡器与载波和FM有什么共同之处?

时钟晶体振荡器与载波和FM有什么共同之处?

返回列表 来源:*** 查看手机网址
扫一扫!时钟晶体振荡器与载波和FM有什么共同之处?扫一扫!
浏览:- 发布日期:2019-06-13 09:40:37【
分享到:

用于大多数电子应用的主时序控制电路是精密信号源.对于数字应用,它是一个精确的时钟晶体振荡器.在RF应用中,它是发送器的载波源或接收器的本地振荡器(LO).如果涉及频率调制(FM),则需要调制器和解调器以及载波源.

在所有这些情况下,锁相环(PLL)频率合成器是一个很好的选择.它不仅提供了所需的精度和准确度,还提供了一种灵活的频率变化方式.

PLL101

就像回顾一样,PLL合成器是一个带反馈的闭环控制器(图1).压控晶体振荡器(VCO)产生输出信号.频率由LC谐振网络决定,但由来自相位检测器和低通环路滤波器的直流输入电压控制.

时钟振荡器与载波和FM有什么共同之处?

1.PLL的基本配置具有VCO输出,控制相位检测器和反馈分频器等电路.

相位检测器的输入通常是来自晶体振荡器的稳定参考信号.相位检测器的第二个输入是从VCO输出得到的信号,该信号通常由可变分频器分频.相位检测器的两个输入必须是相同的频率.

相位检测器将稳定参考输入与分频VCO输出进行比较.如果输出频率发生变化,相位检测器会识别变化并产生直流电压变化,以调节VCO以保持恒定的输出频率.尽管存在任何变化,但这种闭环操作可使输出频率保持稳定.输出基本上具有输入参考的精度和稳定性.

要更改频率,请调整分频比N.例如,如果VCO输出为480MHz并且您使用的是1MHz输入晶振参考,则需要一个除以480的分频器.分频器是可变的.将分频因子更改为481将产生由相位检测器识别的频率和相位变化.因此,VCO输出将更改为481MHz.

请注意,输出频率的增量变化等于输入参考频率.可以通过在参考振荡器和相位检测器之间插入分频器(和/或乘法器)来改变该参考频率.

调频调制方法

由于发明家和EEEdwinArmstrong,频率调制已经存在了80多年.FM是一种流行的调制方案,用于通过改变载波频率在高频无线电载波上传输信息.它现在仍然广泛用于模拟和数字格式.您可以看到FM广播无线电或双向移动无线电形式的模拟版本.您可以将数字形式视为频移键控(FSK),就像蓝牙和某些ISM频段无线电一样.在这两种情况下,您都会找到涉及的PLL.

有几种FM实现技术,每种技术都有不同的特性.通常,您可以以模拟或数字方式生成FM.无论采用何种技术,您都需要一个频率合成器来生成高频无线电载波.

一种模拟技术是直接调制VCO.常见的安排是使用变容二极管(电压可变电容器)来改变VCOLC调谐电路中的电容值.另一种方法使用调制信号来调制参考石英晶体振荡器.在这种情况下,参考不是精密固定频率晶体振荡器.它将是一个LC振荡器,其频率由一个或多个变容二极管的可变电容改变.

调制PLL的数字方法是快速改变分频器值.在两个分频器值之间切换会生成标准FSK.这种方法可用于生成4FSK或8FSK,通过创建四个或八个“符号”来提高比特率;每个符号频率代表多个位.使用4FSK,每个代表两位的四个频率,实现了数据速率的加倍.对于八个频率,每个符号表示三个比特.

使用FSK的关键因素是通过整形调制信号来降低发送信号的带宽.这通常通过对二进制信号进行滤波并使其边缘变圆来完成,这具有减少信号中的谐波数量的效果.这反过来减少了FM信号产生的边带数量.

时钟振荡器与载波和FM有什么共同之处?

2.解调FM时,您只需要一个没有反馈分频器的PLL.

要解调FM,您只需要一个没有反馈分频器的PLL(图2).VCO设置为载波频率,FM信号应用于参考输入.当VCO跟踪输入频率变化时,环路滤波器输出是原始调制信号.有关FM的更多信息,请访问此处

PLL规格

选择PLL集成电路时,需要考虑以下关键规范:

频率范围:ICPLL的频率范围为10MHz至20GHz.

相位噪声:典型值取决于载波的指定偏移,范围为10kHz至1MHz.额定值以dBc/Hz为单位.例如,在100kHz偏移处为-110dBc/Hz.

抖动:以飞秒(fs)为单位测量.在某些频率下以均方根指定.

分频器分辨率:通常为32位,带整数或小数N格式或两者.

频率调制能力:FM,FSK,斜坡/啁啾.

同步功能可以对齐多个PLL的输出相位.

可调节的延迟能力.

低噪声和本底噪声:以dBc/Hz为单位测量.

如果您正在寻找PLL,请考虑德州仪器的微波PLL和合成器手册(PDF).它是RFPLL和合成器的完整产品组合,适用于工业,通信和汽车系统.

现代RF合成器

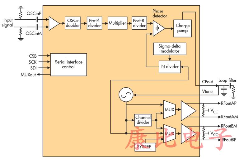
常见的PLLIC的一个例子是TILMX2594.它可在10MHz贴片晶振至15GHz范围内的任何地方运行.图3显示了主系统块的简化图.参考输入是差分输入,驱动分频器/乘法器链,可灵活设置频率步进变化增量.它还允许调整系统以最小化马刺的发生.VCO输出由差分放大器缓冲.此外,环路滤波器在外部使用分立电阻器和电容器实现.

时钟振荡器与载波和FM有什么共同之处?

3.图中显示了TILMX2594PLL的简化图.(德州仪器公司提供)

一些可能的应用包括5G和毫米波无线基础设施,测试和测量设备,雷达,MIMO,相控阵和波束成形,以及支持JESD204B的数据转换器时钟.

该IC具有先进的相位同步功能,可实现多个RFPLL的相位对齐.通过使用SYNC引脚,参考输入(OSCin)可以确定性地与RFout引脚对齐.这使得可以以非常精细的步骤调整相位或者将VCO周期除以分数分母.它是构建具有雷达,MIMO,相控阵天线和波束成形系统的基本功能.

快速通道
pass
+ 快速通道